用户登录:用户名  密码  会员服务
  首页 | 最新采购 | 现货热卖 | IC库存 | 非IC库存 | 应用资料&程序库 | 交流区 | 供应商 | 生产商 | 技术资料
应用资料:  
您现在的位置:首页 >  技术资料   上载库存  

应用TDA2030A制作功率放大器的几款电路

TDA2030A我想是大家再熟悉不过的功放集成电路了。

       典型应用电路如下:

    电路中采用单电源供电,大功率输出电路。RL=4欧姆,VS=39V,P0=35W;VS=36V,P0=28W;

     

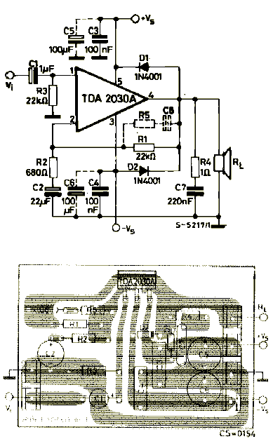
     下列电路采用正/负电源供电:

 




关于我们 | 会员服务 | 广告服务 | 支付方式 | 联系我们 | 友情链接

会员服务热线:

深圳矽通科技版权所有 © Copyright 2005-2007, ic-cn.com.cn All Right Reserved.  粤ICP备07006430号
深  圳13410210660             QQ : 317143513   点击这里与电子元件采购网联系
客服联系: MSN:CaiZH01@hotmail.com       E-mail:info@ic-cn.com.cn